Пылеулавливающий агрегат РПАВ-4000 (4000 м3/ч, 5,5 кВт, 98%, 205 кг)
Пылеулавливающий агрегат РПАВ-4000 (4000м3/ч, 5,5кВт, 98%, 205кг)
Рекомендуются для очистки удаляемого воздуха при работах на всех типах заточного и шлифовального оборудования,в цехах механической обработки металла,в том числе с образованием металлическая стружки, обдирочных станках, в дробильно-размольных цехах и других пылящих производствах.
Внимание: не использовать агрегат РПАВ-4000 в процессах, образующих пожароопасные составляющие в пыли (бумага, дерево, резина и т.д.).
Область применения:
- Шлифовка
- Заточные станки
- Обдирочные станки
Агрегаты эффективно улавливают сухую, неслипающуюся пыль дисперсностью 30-100мкн.
Агрегаты выпускаются в 2-х модификациях.
- РПА-800- без вентилятора
- РПАВ-800-агрегатирован вентилятором
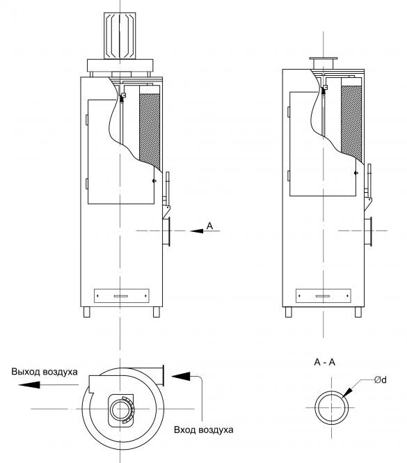
Принцип работы
Загрязненный воздух через входной патрубок поступает в корпус тангенциально. В нижней части корпуса размещена система отбойников , позволяющая очистить крупные частицы и предотвратить попадание искр на основной фильтрующий элемент рукавного типа.Далее запыленный воздух перемещается вверх, проходя через рукавные фильтры. Очищенный воздух выходит через патрубок , расположенный в верхней части корпуса, на который устанавливается вентилятор( в модификации"В")Для снижения уровня шума вентилятора, в случае возврата воздуха в помещение,рекомендуем использовать отвод с раструбом-диффузором.Регенерация фильтрующих элементов осуществляется встряхиванием. фильтрующие элементы установлены на патрубках между двумя дисками, верхний из которых подвижен и соединен посредством стального троса с рукоятью для регенерации, расположенной на внешней боковой поверхности корпуса. В агрегатах с индексом "В" предусмотрена пусковая аппаратура с тепловой защитой, подключенная к вентилятору, кабель питания и штепсельный разъем.

Подробная информация по ссылке. В интернет-магазине доступны 3 варианта оплаты:
- Наличными или банковской картой в офисе в Химках, ул. Энгельса 27.
- Оплата по QR-коду, который мы Вам предоставим.
- Оплата по счёту. Для совершения покупки наши менеджеры свяжутся с Вами по указанным контактам и отправят счёт на оплату.
Подробная информация по ссылке.
- Доставка водителем по Москве и Московской области.
- Самовывоз со склада по адресу ул. Свободы 103с23 доступен по рабочим дням 9.00 до 17.00.
- Отправка транспортной компанией (до терминала ТК доставляем за наш счёт)
